您好,欢迎进入河南省中原蜜桃APP污实业有限公司官方网站!

与时俱进,诚赢客户

蜜桃视频在线观看视频、提梁机、门式蜜桃视频APP下载机生产厂家

服务电话:13782575673

蜜桃视频在线观看视频百科

您现在所在位置:首页>>蜜桃视频APP下载资讯>>蜜桃视频在线观看视频百科

欧式蜜桃视频APP下载机小车的设计结构

本文链接:http://www.766cs.com/gsxw/513.html   发布时间:2021-03-02 02:19:40  点击量:1661

  欧式小车的结构主要由小车架、小车横梁、小车附件构成。小车架由小车主、副端梁、支撑平台连接梁、过道平台连接梁构成。小车横梁对称支承在小车主、副端梁上,为三面封闭、下方开口的箱形结构梁,定滑轮由两排平行滑轮轴装配在小车横梁的主副腹板上。小车附件由扫轨板、缓冲器支座、花纹板、小车栏杆及电气支架等构成。

  1、欧式小车的小车架设计

  欧式小车架结构简单,但制作精度要求高,一般需要整体机加工。根据其外表的型式来,可以分为小欧式小车架、中欧式(低净空)小车架和大欧式小车架(双梁4轨小车架)。

  小欧式小车架(图3-15和图3-16)根据起升机构采用“三合一”电机(电机、法兰联轴器、起升制动单元)直接装在减速器的里侧布置机构,不需要起升机构专用支撑平台,卷筒轴承座镶放在小车端梁的上面,横梁也支承在小车的两根端梁上。小车主、副端梁、根据小车轮压的分布设计截面尺寸,同时还需考虑运行电机摆放的位置是否方便维修和更换。

  中欧式(低净空)小车架(图3-17和图3-18)由小车主、副端梁、起升支撑平台、过道平台、等结构件组成,独立的电机、减速器、制动器等布置决定小车架需要专用支撑平台。小车架有两种典型的结构型式,减速器带侧平台支承的小车架(图3-18)和减速器带三支点支承的小车架(图3-19),以*大限度地降低小车整体高度为原则设计小车架型式,减速器带三支点支承的小车架能使小车主副端梁的高度更小。高速轴上的零部件集中布置在支撑平台上,卷筒轴承座镶放在小车端梁偏上部分的里面,其中心线和小车端梁上盖板齐平,小车横梁支承在小车的两根主、副端梁上。


图3-18减速器带平台支承的中欧式低净空小车架
图3-18减速器带平台支承的中欧式低净空小车架

图3-19减速器带三支点支承的中欧式小车架
图3-19减速器带三支点支承的中欧式小车架

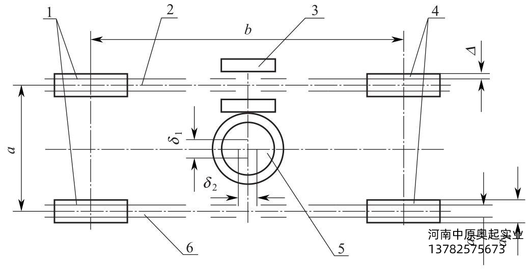
  大欧式小车架(图3-20),俯视图和中欧式相似,但小车主副端梁和中欧式有所不同。主、副端梁两端和台车(双梁4轨)通过球铰支座柔性连接,球铰支座固定在每组台车上,台车随着4根轨道高差的不同,球铰随机任意转动,保持4根轨道同一截面上的车轮始终和轨道接触。台车车轮群在副轨道上的车轮采用单轮缘,在主轨道上的车轮

  采用无轮缘车轮和水平轮组配合使用(图3-21),通过水平轮组和主轨道之间的间隙自由的调节车轮踏面间隙Δ的变化,从而自由地调节台车的车轮运行方向,以便不发生啃轨和擦轨。

  双梁四轨小车架的变化关键在小车主、副端梁上,小车横梁和双梁双轨结构一样。设计起升机构依然将起升减速器摆放在主端梁外侧,主端梁可以设计成中间窄,两头宽的结构型式,便于在侧面布置减速器。由于起升吨位较大,可以考虑由2台电机和2台减速器对称布置传动。小车主、副端梁推荐按模块化的设计思路,将主、副端梁设计成侧面为T字形的箱形结构梁,根据吨位确定车轮直径和数量,多轨台车也相应固定型号和规格尺寸。

  小欧式、中欧式(低净空)和大欧式小车架的设计流程相似,根据起升高度确定小车轨距,机构的布置确定轮距,蜜桃视频APP下载机主参数设计小车主、副端梁、和小车横梁,*后设计小车附件。

  2、欧式小车架的主、副端梁设计

  欧式小车架的主、副端梁设计上没有本质区别,外形尺寸和盖板、腹板的厚度都基本一样,只是局部的加强板有所不同。小车上所承受的载荷主要有*大额定蜜桃视频APP下载量和小车的自重作用,通过小车横梁和卷筒组直接承压到小车主、副端梁上,可以把这些载荷看成均匀对称分布的集中压力。以中欧式小车主端梁为例(图3-22)。
图3-20超欧式小车架

图3-20超欧式小车架

图3-21车轮群局部简图
图3-21车轮群局部简图

  1—主动车轮;2—主轨道;3—水平轮组;4—被动车轮;5—球铰支座(固定在台车上);6—副轨道

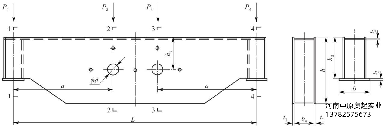
  小车主端梁承受的外力有卷筒上钢丝绳向下的拉力转化到小车主端梁上的压力R3;有小车横梁里面的滑轮组钢丝绳向下的拉力转化到小车主端梁上的压力R5;有小车自重转化到小车主端梁上的压力Gx,Gx可在R3的左边,也可能在R3的右边,其小车轮距的中心线位置可近似看着Gx的作用力位置。这些力共同对1—1截面、6—6截面形成压力R1和R6,R1和R6便是小车的轮压,对带台车的小车便是单个小车轮压的两倍。c/2位置为吊钩组中心线的近似位置,计算吊钩中心线*大车两端的极限距离,可以作为简算值用于方案设计中,误差很小。
图3-22小车主端梁受力分析图

图3-22小车主端梁受力分析图






  M3=R1a(Gx在R3右边)  (3-19)

  M5=R6(b-a-c)  (3-20)

  式中 Q——*大额定蜜桃视频APP下载量(t);

  Gx——为小车自重的1/2(t);

  m——小车滑轮组倍率;

  I——小车主端梁截面惯性矩(mm4);

  S——小车主端梁截面中性轴以上截面静矩(mm3)。

  其他参数见图3-22。

  一般按上述计算出的小车轮压R1和R6不一定理想,需尽量使小车的总被动轮压接近总主动轮压的0.6~1倍,如果不在这个范围,还需调整a、b、c值,使小车的总被动轮压*大限度地接近总主动轮压。此外,小车端梁的高度还取决于车轮的直径大小,一般端梁的强度都有很大的富余,车轮直径是主要控制因素。从局部稳定性角度考虑,推荐小车端梁腹板和盖板的厚度,中、大欧式不小于12mm,小欧式不小于10mm。

  3、欧式小车架的支撑平台和过道平台连接梁设计

  欧式小车架的支撑和过道平台连接梁宜尽量选择封闭的型钢,一方面可以减少梁的变形,另一方面可以使小车架外表耐看,推荐截面尺寸大小按承受的零部件重量的1.5~2.5倍计算强度(考虑维修人员的**综合取值)一般强度都能满足要求,设计只需考虑满足静刚度值≤L/2000mm(L为小车轨距,单位mm)。

  4、欧式小车的横梁设计

  小车的横梁(图3-23)为上盖板和腹板组成的开式结构梁。小车横梁除了要考虑各截面的强度外,还需考虑整体的静刚度和滑轮轴孔处的平均挤压应力,其值可以通过结构力学求解器或有限元分析求解验算,静刚度值≤L/2000mm(L为小车轨距,单位mm)。
图3-23小车横梁的受力图

图3-23小车横梁的受力图

  5、小车横梁的强度计算
小车横梁的强度计算
小车横梁的强度计算
小车横梁的强度计算
小车横梁的强度计算

  式中 I——小车横梁截面惯性矩(mm4);

  S——小车横梁截面中性轴以上截面静矩(mm3);

  t1——小车横梁腹板厚度(mm);

  t2——小车横梁上介板厚度(mm);

  t3——小车横梁端头底板厚度;

  b0——腹板之间的净空距离。

  其他参数见图3-23。

  6、轴孔d的平均挤压应力
轴孔d的平均挤压应力

  式中 [σbj]——工作时有相对转动,取 ? ;工作时无相对转动,取 ? 。

  7、小车横梁的刚度计算

  桥式蜜桃视频APP下载机小车架的的静刚度不大于L/2000,对于小车横梁也需遵循这个规定。在设计小车横梁的时候,刚度往往富余,一般都不是控制条件,强度和定滑轮的结构尺寸(直径)为小车横梁设计的主要控制条件。
小车横梁设计的主要控制条件

小车横梁设计的主要控制条件
 

  8、小车横梁的装配

  欧式小车的横梁是传统桥式蜜桃视频APP下载机上没有的结构件,相当于固定滑轮架的作用,通过两根滑轮轴装配定滑轮,横梁的两边腹板支承着滑轮轴。同时,横梁还起小车两根端梁之间的连接作用,一般设计尽量使横梁的*高点不超过卷筒组的*高点。

  小车横梁装配由两根轴(定滑轮)承载(图3-24);滑轮组的倍率只能是偶数,每排的滑轮数等于(m/2-1)(m为滑轮组的倍率),比吊钩组每排的滑轮少1个。图3-24中腹板上的5个小孔用来装配防止钢丝绳跳槽的**装置装配孔,左上方的小方孔用来装销轴式超载传感器,上盖板中间两个圆孔是工艺孔,便于定滑轮装配时的观察。

  9、小车横梁的固定

  小车横梁装配好后,需固定在小车架的端梁上。小车端梁对横梁主要承受垂直压力,水平侧向力很小,但由于吊钩所吊的重物是交变的载荷,每次满负荷突然卸载时,横梁有向上的惯性冲力,所以横梁在小车端梁上不允许有水平方向的窜动。一般小车横梁有2种方式固定,一种是挡板螺栓穿过横梁端板固定(图3-25);一种是挡板螺栓顶紧横梁端板固定。此外,在横梁腹板的外围还有对称两块围板固定。

  10、欧式小车的附件设计

  欧式小车的附件主要有扫轨板、缓冲器支座、小车架两端连接板、花纹板、小车栏杆及电气元器件支架等。由于小车车轮需要在小车上考虑维修更换,车轮需从小车两端移出,扫轨板宜设计成可拆卸式。

  欧式小车的附件不仅要考虑系列化、标准化和模块化的设计因素,还要考虑制造简单、外表美观的设计思路。宜将5~50t小欧式和63~300t中欧式及大于300t的大欧式小车系列的附件分类统一设计成系列化、标准化和模块化的附件结构零件。

文章聚合页面:

联系蜜桃APP污

CONTACT US

联系人:徐经理

手机:13782575673

电话:0373-8611375

邮箱:hnzyaqqz@126.com

官网:www.766cs.com

地址:河南长垣蜜桃视频APP下载工业园区华豫大道中段

网站地图